In de doos
Western Digital levert de WD TV Live Hub tamelijk kaal af: een afstandsbediening, voedingsadapter en dat is het zo'n beetje: kabels zijn niet meegeleverd. Leuk voor de Media Markten van deze wereld, die graag HDMI-kabels voor 100 euro de strekkende meter verkopen, minpunt wat ons betreft.

In de doos: alleen het absolute minimum.
De speler
Het nieuwe kastje van Western Digital wijkt flink af van de voorgangers: waren die klein en gedrongen, is het nieuwe model plat, een stuk breder en dieper. Net als de eerdere modellen is de constructie behoorlijk stevig. Aan de onderkant bevindt zich een kleine ventilator, die echter alleen van zeer nabij hoorbaar is. Vermoedelijk is de actieve koeling noodzakelijk door de platte constructie en de geplaatste harde schijf, de gebruikte chipset wordt normaal gesproken niet bijzonder warm.

Aansluitingen
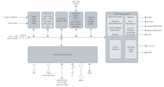
De afwezige kabels zijn des te opmerkelijker omdat Western Digital dankzij de wat grotere behuizing volwaardige aansluitingen voor composiet en component video-uitgangen heeft weten te plaatsen; eerdere modellen moesten hiervoor nog onhandige verloopkabels gebruiken. De andere aansluitingen zijn een optisch digitale audio-uitgang, een analoge stereo-uitgang en een HDMI 1.4 (!) aansluiting. Deze wordt mogelijk gemaakt door de gebruikte processor, een Sigma Designs SMP8654AD. Zoals oplettende lezers van eerdere reviews weten, is dit de 'budget'-chip van Sigma, maar wel een van de meest uitgebreide, met de mogelijkheid DVD- en Blu-ray menu's weer te geven. Een gigabit ethernet-poort en twee USB 2.0 host-poorten completeren de beschikbare aansluitingen. Het nut van gigabit is beperkt: zoals zal blijken is de mediaprocessor niet snel genoeg om deze op volledige snelheid te laten werken, zoals bij alle mediaspelers tot dusver met een gigabit aansluiting.
Het blokdiagram van de Sigma 865x serie mediaprocessors.
1 besproken product
| Vergelijk | Product | Prijs | |
|---|---|---|---|
|
Western Digital TV Live Hub 1TB
|
Niet verkrijgbaar |